茅台五粮液再挥刀:12天清退24家网店,百亿大商歌德盈香6店全出局
短短12天,茅台酱香酒电商渠道名单再度发生了变化。
《每日经济新闻·将进酒》记者注意到,7月18日公布的最新名单与此前相比,约24家线上店铺被清退,同时新增约4家店铺。

图片来源:每日经济新闻 资料图
这并非酒业巨头孤例。线上渠道的兴起,始终与假冒伪劣问题如影随形。今年3月,五粮液同样出手整顿电商渠道,名单较前次减少15家店铺,新增4家。茅台与五粮液不约而同的行动背后,是消费者关于线上购买产品问题的投诉不断累积。面对鱼龙混杂的线上生态,名酒企业正以铁腕手段重塑电商渠道秩序。
尤为引人注目的是,此次茅台清退名单中,昔日的“百亿级”大商歌德盈香旗下多达6家店铺被悉数移除,彻底告别茅台酱香酒的核心电商体系。这已是短短数月内,继五粮液之后,又一白酒巨头对线上渠道祭出重拳,预示着名酒企正加速收紧渠道管控,一场针对线上流通秩序的大洗牌已然拉开序幕。
白酒巨头相继“重拳”清理线上渠道
京东、抖音成渠道整顿“风暴眼”
从平台分类来看,此次公布线上销售名单覆盖京东、抖音、天猫、微信视频号、快手、苏宁、唯品会七大电商平台,涵盖的茅台酱香酒旗舰店及众多授权经销商店铺总数超过140家。

《每日经济新闻·将进酒》记者粗略统计发现,本次公布的渠道数量较上一次有明显减少。具体来看,京东平台减少4家,新增1家;抖音平台“清理”最为明显,共减少10家店铺,仅新增1家;天猫、微信视频号、苏宁平台则分别减少4家、5家和1家,仅微信视频号新增1家;唯品会平台无变化。
无独有偶,今年3月,五粮液便对其电商销售平台进行了调整。从平台分类来看,官方自营店铺从12家增加到了14家;其他平台店铺增加2家。此次减少的15家均为其他平台店铺,其中包括京东平台店铺6家;天猫平台店铺5家;抖音平台店铺3家;微信平台店铺1家。
雷霆手段背后,是酒企对于假冒产品的“零容忍”。两家公司在发布销售渠道名单时均提到消费者投诉在部分平台销售的产品问题。
茅台酱香酒旗下赖茅酒业于今年1~5月对京东、淘宝、拼多多部分网店所售赖茅酒进行购买采样,共计购买289瓶,其中64瓶为假冒。
五粮液的遭遇同样严峻。今年1~5月,公司累计为电商平台消费者提供1610瓶五粮液产品的免费鉴定服务。经鉴定,其中假冒产品268瓶,占鉴定总数的16.65%。五粮液在6月11日发布的消费者告知书中称,自去年11月发布《致五粮液消费者的告知书(二)》以来,公司与各电商平台持续保持良好沟通,共同对线上与公司及关联公司无经销关系的商家店铺进行清查,查实并通过电商平台取缔售假店铺261家,下架侵权链接6431条。
今年6月举行的年度股东大会上,五粮液总经理华涛便指出,要全面布局电商渠道,将加强“百亿补贴”不合规、不规范商家的监测和打击力度,联合各方应对不合规的“百亿补贴”。
昔日大商黯然“退场”,股权被冻
授权店铺商品“清零”
在五粮液和茅台酱香酒公司“清理”的名单中,记者均发现了一个熟悉的名字——歌德盈香。
记者梳理发现,上述被五粮液清退的店铺中,歌德盈香关联公司占据3席。而茅台酱香酒公司的清理力度更大,歌德盈香旗下6家店铺被悉数移除名单。
头部酒企密集更新线上授权名单,释放出强化渠道管控、优化消费者体验的明确信号。 此举不仅是对市场假货“零容忍”态度的延续,更是对合作渠道自身运营质量的一次严格筛查与整顿。
记者调查发现,茅台酱香酒“清理”的这6家歌德盈香店铺,实际运营状态表现异常。其中,京东、天猫店铺所有茅台酱香酒产品均显示“无货”;抖音平台的两个账号已有一个多月没有开播,最新视频更新时间分别为去年10月和今年1月;微信视频号账号名称已由“歌德老酒行官方旗舰店”变更为“老八大拍卖行”。
针对上述店铺何时补货、是否仍在正常经营售酒等问题,记者多次尝试在线联系客服,均未获得人工回复,仅收到智能客服“具体补货时间无法确定”的自动回复。 值得注意的是,这些店铺内,除茅台酱香酒外,五粮液、泸州老窖、剑南春、古井贡酒等知名酒企的产品同样处于全线下架、无货可售的状态。

歌德盈香此番遭遇头部酒企“切割”,与其自身深陷的经营困境密切相关。 公开信息显示,这家曾以近百亿元年营收(2022年数据)跻身行业前列的大商,近年通过并购“也买酒”等平台,参股多家酒水公司快速扩张。然而,自2024年起,公司便陷入欠薪风波。《每日经济新闻·将进酒》栏目彼时曾接到多位自称歌德老酒行在职或离职员工的反映,称遭遇工资拖欠。
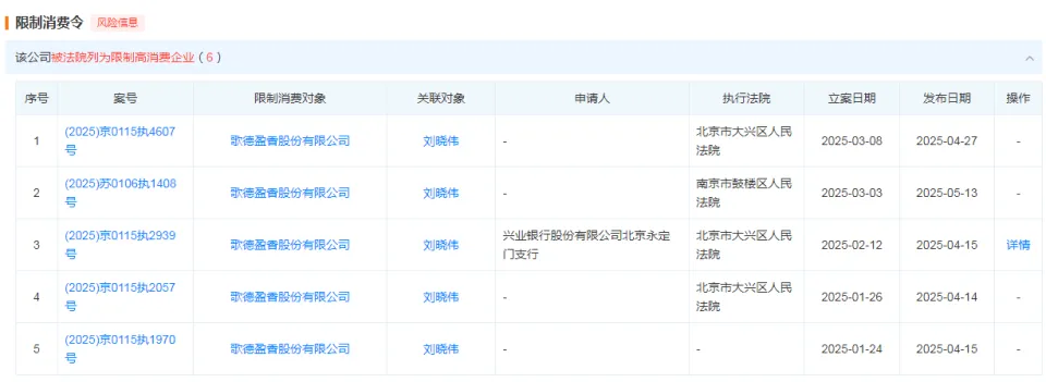
时至今日,歌德盈香的经营困局似乎未见缓解。据记者获悉,北京市大兴区人民法院今年4月发布的《限制消费令》,法院于2025年3月立案执行一起涉及歌德盈香的国内非涉外仲裁案件。因歌德盈香未按执行通知书履行给付义务,法院依法对其采取限制消费措施。



图片来源:天眼查
天眼查显示,歌德盈香法定代表人刘晓伟所持该公司4429万元股权,已于今年1月被法院冻结,冻结期至2028年1月。
歌德盈香的境遇,为酒类流通行业敲响了警钟。其不仅受困于激烈的市场竞争,更因自身运营失序、难以保障渠道质量与消费者权益,最终被上游核心名酒企业主动“清退”。
茅台与五粮液接连出手,线上渠道的“紧箍”正越收越紧。名酒企业维护品牌价值、保护消费者权益的同时,也预示着整个酒类流通渠道的深度整合与洗牌正加速进行。
昔日光环褪去,大商们若不能及时转身,终将被时代浪潮吞没。对于歌德盈香未来发展及酒业流通渠道新的变化,《每日经济新闻·将进酒》将持续关注。
























