光模块工作原理、外观结构、种类及性能指标全解析
一、光模块的工作原理
光模块,作为光纤通信中的关键组件,其核心作用在于实现电信号与光信号之间的相互转换。这一过程涵盖了光电转换和电光转换两大功能,确保了信号能够高效、稳定地在光纤中传输。具体而言,光模块主要由光电子器件(如光发射器和光接收器)、功能电路以及光接口等精心构成。
在发送端,电信号会经过驱动芯片的精细处理,随后驱动半导体激光器(LD)或发光二极管(LED)发出相应速率的调制光信号。而在接收端,光探测二极管则负责将接收到的光信号高效转换为电信号,再经前置放大器处理后,输出相应码率的电信号。这一系列的转换过程对传输速率、波长以及传输距离等关键因素都极为敏感,因此,光模块的性能指标和特性对光纤通信系统的整体传输质量和距离具有决定性的影响。


性能指标影响
光模块的性能对光纤通信系统的传输质量与距离至关重要,与传输速率、波长等因素敏感相关。
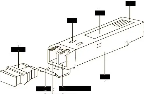
01二、光模块的外观结构
光模块的外观因种类不同而有所差异,但它们都共享一些基本组成元素。以下是一个典型光模块的外观结构示意图。

02三、光模块的种类
光模块的种类繁多,其选择对光纤通信系统的性能和稳定性产生直接影响。根据不同的分类标准,光模块可以被划分为多种不同的类型。

SFP光模块
SFP(Small Form- )光模块,以其小巧的身姿、节能的特性以及高速的传输能力,在光模块领域占据了一席之地。其可插拔式设计使得安装与维护变得轻而易举,而热插拔功能的支持,更是让网络在更换过程中依然能保持畅通无阻。

SFP+光模块
SFP+(Small Form- Plus)光模块,作为SFP模块的升级版,以其更高的传输速率脱颖而出。然而,随着速率的提升,该模块对电磁干扰(EMI)的敏感性也相应增强,因此,在设计上进行了诸多改进以应对这一挑战。

SFP28光模块
SFP28(Small Form- 28)光模块,拥有与SFP+相同的接口封装尺寸,同时支持25G和10G两种速率。这种小型可插拔光模块,不仅继承了SFP+的优点,更在速率选择上提供了更多灵活性。

QSFP+光模块

QSFP+(Quad Small Form- )光模块,以其紧凑且热插拔的设计而闻名,其传输速率高达,完全遵循SFF-8436协议和QSFP多源协议(MSA)。这种光模块能够轻松插入到所有配备QSFP+接口的设备中,甚至兼容部分接口设备,从而轻松实现40G的网络连接。

CXP光模块
CXP(120 Gb/s - Form )光模块,以其高密并行设计和可热插拔的特性而受到青睐。在发送和接收方向,它提供了高达12个通道,专为短距离多模链路设计,满足高速数据传输的需求。
CFP光模块
CFP( Form- )光模块,作为一种高速且可热插拔的新型光模块标准,广泛支持数据通信和电信传输两大应用。其尺寸规格为长144.75mm、宽82mm、高13.6mm,便于灵活部署。CFP光模块提供多种传输速率和距离选择,例如10G、40G和100G等版本,以满足不同的传输需求。

光模块
(Quad Small Form- 28)光模块,以其四通道小型可插拔设计而著称,每个通道均具备高达的传输速率。该模块不仅支持热插拔功能,使得在网络运行过程中即可进行便捷更换,还因其可插拔式结构而简化了安装与维护流程。
QSFP-DD光模块
QSFP-DD(Quad Small Form - )光模块,作为一种双密度四通道小型可插拔封装的光模块,以其紧凑的尺寸和出色的密度而设计。这种模块特别适用于那些需要更高带宽和更有限空间的应用场合,能够满足现代数据中心和网络基础设施的严苛需求。
03四、光模块的命名规则
在光模块的海洋中,每个品牌都有其独特且易于识别的命名方式。然而,尽管命名方式各异,但业界普遍遵循的命名规则却大同小异。通过了解这些规则,我们能够轻松解读厂商产品名称中的深意。接下来,我们将深入剖析光模块的通用命名规则。

04五、光模块的拔插技巧
在光纤通信领域,光模块的拔插是一项关键操作。掌握正确的拔插技巧不仅关系到光模块的使用寿命,更会影响整个通信系统的稳定性。接下来,我们将一起探讨如何正确且高效地拔插光模块。

拔插要点
在拔插光模块时,务必轻拿轻放,小心谨慎,防止其跌落。首先,确定需要更换或维修的光纤模块,并谨慎关闭其所在的光通信系统。接下来,用适当的力度轻轻将光模块从插槽中拔出,注意避免用力过猛或过度扭曲。拔出后,务必仔细检查光纤连接器是否保持完好,若发现任何损坏或污染,应立即进行更换或清洁处理。
当插入光模块时,需确保模块与插槽精准对齐,然后轻轻用力将其插入到位,直至锁定在插槽中。之后,利用光源检测新模块的连接状态,确保连接良好。插入完成后,应仔细检查模块的指示灯是否正常亮起,同时再次确认光纤连接器的完整性。
在整个拔插过程中,都要避免用力过猛或过度扭曲,以防损坏光模块或插槽。此外,为了确保光模块的稳定运行,建议定期对其进行检查和维护。
























